一、应用场景
商超-鞋服类商品,通常有多个属性,比如颜色,尺码,不同属性有多个属性值,比如颜色:黑色、白色、红色,尺码:39 码、40码、41码,单个颜色+尺码库存独立管理,独立销售,可以独立做促销、营销活动,报表可以独立分析。
二、商品档案-多属性商品
1、维护商品属性和属性值
属性值编号仅支持2位数字,单个属性下属性值最多添加 80 个(比如颜色这个属性下,可以创建80个颜色),用于创建多属性商品时自动生成商品条码和代码。

2、创建多属性商品
功能入口

填写多属性商品属性

选择属性和属性值,自动创建多属性子商品
一个商品,属性最大支持选择 3 个,一个属性的属性值最大支持选择 20个【比如一个男鞋,尺码的属性,最多支持选择 20 个尺码】。
一个多属性商品,最多支持生成100个多属性子商品。
子商品代码和条码(支持修改)、商品名称(不支持修改)均为自动生成
子商品代码、条码生成规则:子商品代码or子商品条码=主商品代码 or 条码+属性值编号【多个属性值编号拼接】自动生成,支持修改
子商品名称生成规则:子商品名称=商品名称(属性值名称),不支持修改

子商品价格和属性支持独立和批量维护
若子商品零售价、进货价相同,则使用批量编辑功能

若子商品价格和属性需要独立维护,则在明细表格中单独修改编辑即可,最终保存以表格中数据为准

其他拓展属性、进销存属性、零售属性、商品体积、商品详情为子商品共用。
其中商品图片支持子商品独立维护,如果子商品不独立添加图片,则自动取多属性主商品的默认图片填充到每个子商品中。
支持多属性商品新增、批量淘汰、批量取消淘汰、批量更新速记码、批量修改、批量删除、条码生成、自动抓取图片、广播pos终端、零售商品app排序、销售商品排序、手机订货商品排序;不支持多属性商品导入、导出。
三、采购、要货、配送、库存
1、采购按多属性子商品独立采购和收货退货。
1.1.采购订单、收货单、退货单,支持选择多属性子商品,不支持多属性主商品。




2、门店要货按多属性子商品独立要货。
2.1.web端,支持通过多属性主商品,定位到明细商品


2.2.app端界面展示多属性商品主商品,点击后,可展示明细商品

3、配送调出、调入按多属性子商品独立配送。
3.1调出调入支持多属性商品明细商品


4、库存、盘点按多属性子商品独立管理。
4.1盘点支持盘点多属性明细商品


4.2多属性商品明细商品支持独立库存


四、销售
4.1 pos 销售
右侧列表显示多属性主商品,点击弹出子商品列表。输入精确代码和条码,对应唯一子商品时,直接添加多属性子商品到购物车列表,读取对应商品价格。



会员录入、会员价格、促销活动、结算等和其他标准商品一致。
促销活动:按多属性子商品独立添加,独立设置促销,pos侧按子商品独立判断是否参与促销。

4.2 私域商城销售
1、规格应用范围勾选线上

2、通过门店商品管理/商品调价单上架商品,流程和普通商品一样

3、小程序根据属性选择规格

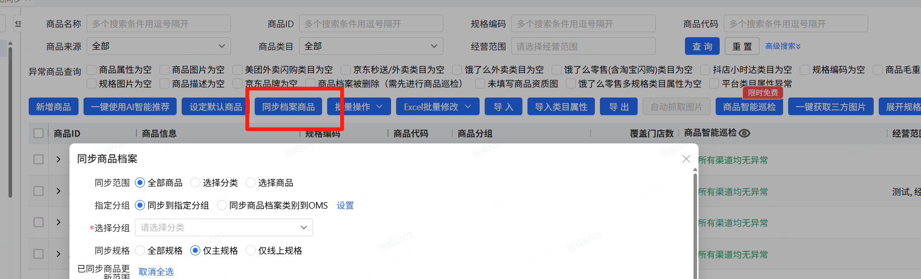
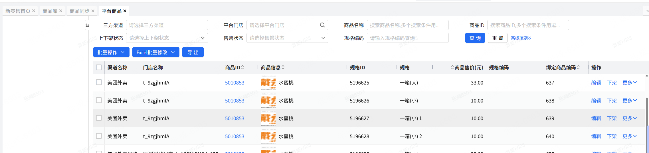
4.3 公域三方平台销售(美团外卖、闪购,京东秒送、抖音小时达、饿了么等)

同步档案商品时,系统会自动将多属性商品的子商品作为规格同步至OMS商品库。

绑定商品时,会自动过滤多属性商品主商品,可按子商品主规格绑定

在平台商品,可按多属性商品的子商品设置其对应的价格和库存。
五、报表
多属性子商品销售数据在各报表中独立查询。
注意事项
仅QTpos支持
.jpeg)