所有文章
新版界面知识库
常见问题
会员等级
硬件相关问题
乐檬开放平台
更新说明
2026年更新说明
2026-05-19版本发布内容
2026-05-12版本发布内容
2026-04-28版本发布内容
2026-04-21版本发布内容
2026-04-14版本发布内容
2026-04-07版本发布内容
2026-03-31版本发布内容
2026-03-24版本发布内容
2026-03-17版本发布内容
2026-03-10版本发布内容
2026-03-03版本发布内容
2026-02-17版本发布内容
2026-02-10版本发布内容
2026-02-03版本发布内容
2026-01-27版本发布内容
2026-01-20版本发布内容
2026-01-13版本发布内容
2026-01-06版本发布内容
2025年更新说明
2024年更新说明
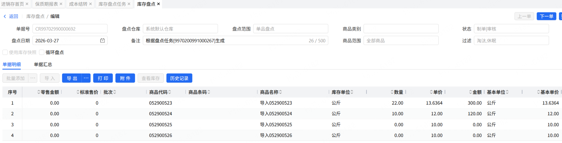
乐檬进销存 - 库存盘点任务单价优化
最后更新于 2026/03/31 阅读数 61 创建人:郑力玮
一、【业务场景】
在使用库存盘点任务关连盘点单进行盘点时,原逻辑是取的第一条数据中的单价,此时数量是正确值按照单价进行换算金额,导致其实单价是有问题的。在这个基础上,按照金额总和和数量倒算单价
二、【功能介绍】
问题编号:EAR-236450
更新范围:管理后台
限制条件:无限制
重构web-库存盘点任务
进入商品明细界面时,单价逻辑修改为,关联盘点单的商品金额之和/关联盘点单的商品数量之和
三、【使用说明】
功能路径:重构web-库存盘点任务
四、【注意事项】
评价这篇文档
有帮助
没帮助
未能解决您的问题?请联系
在线客服
.jpeg)